Top Polyhedron Juno's Spinner
Juno's Spinner Truncated Icosahedron copyright 2001 Junichi Yananose

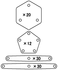
This model consists 4 types of elements. Shape and number of elements is shown below. This model requires 150 rotaional joints.



Click to see larger picture (298KB) >>>

Click to see larger picture (298KB)


Number of elements

Top Polyhedron Juno's Spinner